全球数字财富领导者

港药风云突变!港股通创新药ETF(159570)冲高回落跌超1%,资金近10日净流入11亿元!机构持续看好创新药及产业链!

2025-10-09 10:42:20
有连云
有连云
关注
0
0
获赞
粉丝
喜欢 0 0收藏举报
— 分享 —

国庆和中秋“双节”期间,港药再度强势,港股通创新药ETF(159570)标的指数累计涨幅超3.6%。今日开盘,港股通创新药ETF(159570)冲高回落跌超1%,盘中成交额快速突破13亿元!资金逢跌布局,盘中净流入超3500万元,近10日累计净流入11亿元!截至9月30日,港股通创新药ETF(159570)最新规模超224亿元,规模和流动性持续领跑同类!

image

截至10:17,港股通创新药ETF(159570)标的指数成分股多数飘绿:诺诚健华跌超11%,信达生物跌超9%,中国生物制药跌超7%,康方生物跌超5%。

image

注:成分股仅做展示,不作为个股推介。

【中金公司:看好创新药及产业链,期待商保突破】

中金公司指出,看好创新药长期产业发展趋势。国内工程师红利、丰富临床资源和支持性政策多方加持下,国产创新药已逐渐从跟随时代走向FIC/BIC创新。经历数年耕耘,国内品种商业化放量,并有望受益于支付端政策改革,创新药企盈利能力提升;在研管线数据优异,大额BD持续达成。中金公司认为,进入2.0时代的创新药产业已经逐步完成质的提升。下半年10月中旬围绕ESMO会议前后相关临床数据读出与BD有望带来板块新一轮投资机遇。

投融资预期改善,有望带来创新产业链订单繁荣。受益于年初以来以港股18A为代表的创新药行业繁荣,目前一二级市场投融资一改过去3-4年的颓势,二季度开始出现较为明显的反转。下半年伴随着A/H市场IPO项目的复苏,一二级市场的增发配股等融资行为,预计投融资数据在Q3或将会迎来改观,科研上游将受益于这一变化。

此外,关注商业保险与设备补贴等政策。2025年以来,商业医疗险相关政策持续推进,有望加速医疗体系支付改革,缓和供需矛盾同时,加速支持国产创新。育儿补贴相关政策的推行有望改善远期人口压力,并一定程度刺激婴幼儿相关消费。进入下半年,伴随着财政政策的加码,国内医疗设备相关标的也备受市场期待。

(来源:中金公司20251002《中金医药10月组合》)

【关税实际影响小,下跌为创新药加仓良机】

近期美加关税受到市场关注,海外高层通过社媒宣布自2025年10月1日起美国将对所有品牌或专利药品征收100%的关税,除非某公司正在美国建造其制药厂。“正在建造”的定义是“破土动工”和/或“在建”。因此,如果这些药品已经开始建设,则无需缴纳关税。

中邮证券指出,从政策思路上来说,本次加关税和此前的232调查的意图一致,主旨还是促进美国制造业回流,一定程度也和最惠国政策有关系,但事后来看落地节奏并不快,参考此前生物安全法案可能仍需多部门协调配合。从现状来看,目前各大MNC早已响应海外高层的要求,未来均有明确在美建厂的计划,落地影响预计很小。从政策细节来看,主要针对品牌专利药,一方面目前国内药厂在美国有较大销售的品种很少(百济有自己工厂),另一方面BD目前较难受关税制约。因此本次加关税更多影响情绪,对基本面影响不大。

中邮证券表示,近期创新药板块持续调整,一方面消化前期涨幅,另一方面BD催化剂较少,博弈情绪退坡。中邮证券认为,调整已基本到位,仍建议基于中长期产业发展逻辑维持或增加创新药资产的仓位。

(来源:中邮证券20250929《关税实际影响小,下跌为创新药加仓良机》)

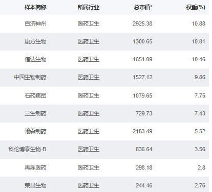
【关注中国硬核创新药力量,新质生产力代表,认准港股通创新药ETF(159570)】

港股通创新药ETF(159570)标的指数100%布局创新药!截至9月30日,前十大成分股权重高达71.83%,提纯港股创新药精华!

image

来源:国证指数官网,截至2025/9/30。成分股仅做展示,不作为个股推介。

港股通创新药ETF(159570)标的指数是弹性更高的创新药,截至7月末,2025年内涨幅超109%,港股医药类指数领先!

image

底层资产是港股,可以T+0交易!

关注中国硬核创新药力量,新质生产力代表,认准港股通创新药ETF(159570),场外联接(A类:021030;C类:021031)!

风险提示:基金有风险,投资需谨慎。文中个股仅作为指数成份股客观展示,不代表任何投资建议。港股通创新药ETF(159570)属于中等风险等级(R3)产品,适合经客户风险等级测评后结果为平衡型(C3)及以上的投资者。本文中的任何观点、分析及预测不构成对阅读者任何形式的投资建议。本基金投资范围包括港股,会面临因投资环境、投资标的、市场制度以及交易规则等差异带来的特有风险。

港股通创新药ETF(159570)标的指数为国证港股通创新药指数,该指数近5个完整年度(2020-2024)的涨幅分别为88.80%、-21.59%、-25.60%、-22.80%、-10.50%。

以上内容与数据,与有连云立场无关,不构成投资建议。据此操作,风险自担。

敬告读者:本文为转载发布,不代表本网站赞同其观点和对其真实性负责。FX168财经仅提供信息发布平台,文章或有细微删改。
go