全球数字财富领导者

港药探底后强势回升!高纯度的港股通创新药ETF(159570)盘中强势翻红,超1.6亿元资金狂涌!机构:周期向上,重估持续!

2025-10-10 10:51:56
有连云
有连云
关注
0
0
获赞
粉丝
喜欢 0 0收藏举报
— 分享 —

今日(10.10),港药探底回升,港股通创新药ETF(159570)盘中翻红涨近1%,盘中成交额快速突破10亿元!资金逢跌布局,盘中大举净流入超1.62亿元!截至10月9日,港股通创新药ETF(159570)最新规模超220亿元,规模和流动性持续领跑同类!

image

截至10:26,港股通创新药ETF(159570)标的指数成分股多数飘红:石药集团涨超3%,信达生物涨超2%,中国生物制药、百济神州、三生制药涨超1%。消息面上,石药集团10月9日公告称,其自主研发的化学1类新药SYH2070注射液(双链小干扰RNA药物)获美FDA临床试验批准。此前的2025年9月,该产品亦获药监局批准在我国开展临床试验。

image

注:成分股仅做展示,不作为个股推介。

【十一期间医药都有哪些大事?】

国盛证券表示,过节期间,辉瑞和美高层达成协议,部分解除了海外MNC的政策担忧,海外MNC迎来修复,同时也带动港股医药情绪有所修复。创新药近期因缺少催化,借势消化筹码,也有企稳迹象,看好十一后,尤其是Q4创新药表现。中长期维度,国盛证券通过对产业逻辑和资本市场创新药未来可能性的推演,认为二者都没有见顶或者过分演绎的迹象,强调创新药5-10年维度第二轮产业浪潮和创新药大行情刚刚开始,并且这轮创新药的核心词是【颠覆】。Q4创新药有望迎来下一波机会,BD预期、重磅会议数据等逐步向好。

未来展望:(1)中短期维度看,继续深挖创新药,为Q4反攻做准备,以海外大药、中小市值科技革命为主。后续创新药要逐步回归龙头化、颠覆化、严肃化三个特征。(2)展望2025,今年医药围绕创新药持续乐观。(来源:国盛证券20251008《十一期间医药都有哪些大事?》)

【机构评创新药走势:周期向上,重估持续】

浙商证券指出,看好创新药盈利改善,估值突破。中国本土创新药进入“工程师红利”兑现期,具备更高效临床效率,更优异/优效的临床数据等优势,本土创新药未来确定性的国际化/BD以及估值突破前景持续强化,中国本土创新药已得到MNC充分认可。

科研上游方面,周期向上,看好弹性。浙商证券看好在降息周期开启、全球新药研发需求修复下,业绩弹性更大的上游板块,以及新业务拓展进入收获期或显著改善的“共振”类板块。(来源:浙商证券20251009《医药生物2025年三季报业绩前瞻报告》)

海通国际认为,在降息周期和ESMO数据催化背景下,看好创新药的长期产业升级趋势。港股药企上半年业绩表现稳健,部分公司略超预期。恒瑞医药收入与利润均创历史新高;翰森制药里程碑收入超预期并上调全年指引;中国生物制药实现双位数收入增长,扣非归母净利润受益于分红收入大幅提升;康哲药业利润小幅增长,略超预期;三生制药收入与利润符合预期,多个核心创新品种接近商业化;石药集团因集采及去库存影响,二季度成药收入环比小幅下滑,但管理层预计下半年将改善。整体来看,港股药企现金流稳健、研发管线丰富、对外授权收入逐步常态化,龙头大药企将在本轮医药价值重估中持续受益

此外,港股Biotech/Biopharma商业化进展顺利,核心管线不断兑现。信达生物收入强劲增长,利润超预期;映恩生物管线推进顺利,占据全球PD-L1/VEGF双抗+ADC的前沿布局;科伦博泰国内商业化顺利,Sac-TMT具备成为TROP2ADC同类最佳的潜力;百济神州泽布替尼二季度在美欧销售超预期。持续关注Biotech管线进展,10月ESMO会议,恒瑞(HER2ADC)、康方生物(AK112)、荣昌生物(CLDN18.2ADC+PD-1/VEGF)、科伦博泰(TROP2ADC)、劲方医药(KRASG12D)、石药/康宁杰瑞(HER2双抗)等公司的核心临床数据有望成为重要催化剂。(来源:海通国际20251002《2025年10月港股金股》)

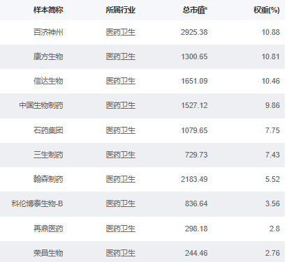
【关注中国硬核创新药力量,新质生产力代表,认准港股通创新药ETF(159570)】

港股通创新药ETF(159570)标的指数100%布局创新药!截至9月30日,前十大成分股权重高达71.83%,高纯度浓缩港股创新药精华!

image

来源:国证指数官网,截至2025/9/30。成分股仅做展示,不作为个股推介。

港股通创新药ETF(159570)标的指数是弹性更高的创新药,截至7月末,2025年内涨幅超109%,港股医药类指数领先!

image

底层资产是港股,可以T+0交易!

关注中国硬核创新药力量,新质生产力代表,认准港股通创新药ETF(159570),场外联接(A类:021030;C类:021031)!

风险提示:基金有风险,投资需谨慎。文中个股仅作为指数成份股客观展示,不代表任何投资建议。港股通创新药ETF(159570)属于中等风险等级(R3)产品,适合经客户风险等级测评后结果为平衡型(C3)及以上的投资者。本文中的任何观点、分析及预测不构成对阅读者任何形式的投资建议。本基金投资范围包括港股,会面临因投资环境、投资标的、市场制度以及交易规则等差异带来的特有风险。

港股通创新药ETF(159570)标的指数为国证港股通创新药指数,该指数近5个完整年度(2020-2024)的涨幅分别为88.80%、-21.59%、-25.60%、-22.80%、-10.50%。

以上内容与数据,与有连云立场无关,不构成投资建议。据此操作,风险自担。

敬告读者:本文为转载发布,不代表本网站赞同其观点和对其真实性负责。FX168财经仅提供信息发布平台,文章或有细微删改。
go