全球数字财富领导者

创新药行情震荡,调整已到位?港股通创新药ETF(159570)两连阳后首度调整近2%,昨日巨幅揽金超9.4亿元!机构:创新药行情有望重燃!

2025-11-04 11:35:56
有连云
有连云
关注
0
0
获赞
粉丝
喜欢 0 0收藏举报
— 分享 —

今日(11.4),创新药板块两连阳后首度调整,100%创新药含量的港股通创新药ETF(159570)回调1.73%,成交额已超15亿元!资金持续涌入,昨日巨幅揽金超9.4亿元,今日盘中再度“吸金”超1000万元!截至11月3日,港股通创新药ETF(159570)最新规模超217亿元,规模和流动性持续领跑同类!

image

截至10:53,港股通创新药ETF(159570)标的指数成分股多数飘绿:康方生物、三生制药、石药集团跌超3%,信达生物跌超2%,百济神州、中国生物制药、翰森制药微跌。

image

注:成分股仅做展示,不作为个股推介。

消息面上,10月30日,2025年国家医保目录谈判工作在京启动,药企积极参与基本目录、商保目录谈判。商保创新药目录的设立有望缓解高值创新药的支付压力,当前纳入医保+商保的创新药大多处于放量初期,随着医保支持创新药的政策红利持续释放,纳入目录的创新药收入有望快速提升,患者有望持续受益。

【8-10月调整良性,创新药行情有望重燃】

中泰证券强调,8-10月创新药的调整是相对良性的,行业基本面并未发展负向变化且持续正向发展,而长周期来看当前医药板块仍处于相对底部区间,具备较强的安全边际和上升潜力,随着三季报披露完毕、市场风格切换,医药板块有望迎来新一轮上涨

1.医药三季报环比改善,创新药表现突出

2025三季度医药上市公司收入上升0.6%,利润总额上升1.6%,扣非净利润下降3.0%。环比来看,三季度收入、利润端均呈现环比持续改善趋势,其中收入增速自2024二季度以来首次转正,扣非净利润环比减亏-8.5pp。分板块来看,化学制剂收入、利润环比二季度继续加速增长,其中尤以创新药放量表现突出。

2.四季度业绩进入真空期,积极把握创新药调整后的机会

伴随三季报披露完毕,市场进入较长的业绩真空期,市场行情或更多围绕催化展开,且风险偏好有望提升,考虑医药板块在8-10月的震荡回调,建议积极把握创新药调整后的机会——创新药经历了阶段的调整,短期收益得到一定兑现,预期有所回落,股价位置更为合理;而产业逻辑和基本面仍在积极推进。

(来源:中泰证券20251103《环比改善延续,创新药行情有望重燃》)

【创新药板块还有哪些催化?医保谈判+BD新动态】

1.医保谈判启动,创新药企准入积极性高涨

东吴证券指出,基本医保目录外申报呈现数量大幅扩容、质量显著提升的双重特征,创新药企准入积极性持续高涨。从申报数据看,目录外通过形式审查的通用名达310个,较2024年的249个增长472份、涉及通用名393个,创历年同期新高。细分领域中,抗肿瘤新药表现最为突出,20款2025年上半年国内首获批品种顺利过审,涵盖小分子抑制剂及CD38单抗、CD3×CD19双抗、HER2ADC等前沿生物药,适应症覆盖多发性骨髓瘤、非小细胞肺癌等重点癌种。国内企业重点标的包括恒瑞医药HER2ADC瑞康曲妥珠单抗(1811)、泽璟制药JAK1抑制剂吉卡昔替尼片、加科思制剂等,均具备较强临床竞争力。

2. 信达生物/武田制药重磅BD合作,三生制药/辉瑞启动三期临床

BD动态方面,10月22日,信达生物(01801)与武田制药达成一项总额最高可达114亿美元的全球战略合作,刷新中国创新药企BD交易金额的纪录。无独有偶,10月内诺诚健华(总金额20亿美元)、汉森制药(总金额15.3亿美元)、维立志博(总金额10亿美元)、奥赛康(总金额0.96亿美元)、甘李药业、派格生物医药等药企BD集中落地,交易总额亮眼。(来源:东吴证券20251102《2025创新药医保谈判启动与调整到位,积极布局优质标的》)

图:2025年10月药企BD密集落地

image

此外,三生制药/辉瑞启动707两项全球三期临床,布局NSCLC和CRC。方正证券点评,国际三期临床开展的进度超预期,体现了辉瑞对于SSGJ-707产品的重视,奠定了707全球潜在大药的基础。(来源:方正证券20251102《创新药龙头国内海外进展持续超预期》)

【关注中国硬核创新药力量,新质生产力代表,认准港股通创新药ETF(159570)】

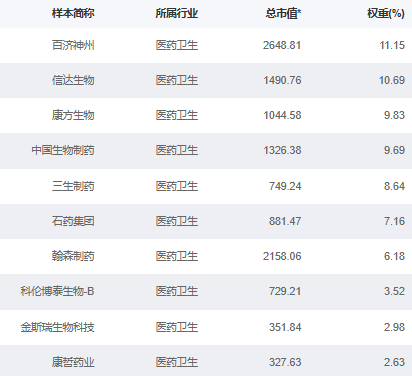
港股通创新药ETF(159570)标的指数100%布局创新药!截至10月,前十大成分股权重高达72.47%,高纯度浓缩港股通创新药精华!

image

来源:国证指数官网,截至2025/9/30。成分股仅做展示,不作为个股推介。

港股通创新药ETF(159570)标的指数是弹性更高的创新药,截至7月末,2025年内涨幅超109%,港股医药类指数领先!

image

底层资产是港股,可以T+0交易!

关注中国硬核创新药力量,新质生产力代表,认准港股通创新药ETF(159570),场外联接(A类:021030;C类:021031)!

风险提示:基金有风险,投资需谨慎。文中个股仅作为指数成份股客观展示,不代表任何投资建议。港股通创新药ETF(159570)属于中等风险等级(R3)产品,适合经客户风险等级测评后结果为平衡型(C3)及以上的投资者。本文中的任何观点、分析及预测不构成对阅读者任何形式的投资建议。本基金投资范围包括港股,会面临因投资环境、投资标的、市场制度以及交易规则等差异带来的特有风险。

港股通创新药ETF(159570)标的指数为国证港股通创新药指数,该指数近5个完整年度(2020-2024)的涨幅分别为88.80%、-21.59%、-25.60%、-22.80%、-10.50%。

以上内容与数据,与有连云立场无关,不构成投资建议。据此操作,风险自担。

敬告读者:本文为转载发布,不代表本网站赞同其观点和对其真实性负责。FX168财经仅提供信息发布平台,文章或有细微删改。
go