全球数字财富领导者

固生堂(02273.HK):消费承压下的稳健增长,中医医疗服务龙头韧性凸显

2025-11-04 22:46:17
格隆汇
格隆汇
关注
0
0
获赞
粉丝
喜欢 0 0收藏举报
— 分享 —
摘要:“稳健基本盘+创新增长极”的成长路径,使其在当前波动的市场环境中成为一个突出的韧性样本~

尽管今年在中国资产重估浪潮下医药板块表现相当活跃,但中医药板块的整体行情相对落后,尤其是中医医疗服务领域。

这一方面是受到了消费承压环境的影响,行业内部分企业业绩承压;另一方面,则在于市场资金更倾向于追逐具有"硬科技"属性的创新药、医疗器械等赛道,对于模式相对传统的医疗服务领域关注度有所下降。

(来源:富途行情)

然而,在此背景下,港股上市的中医医疗服务龙头固生堂展现出难得的韧性,其在资本市场的回购动作也持续释放出积极信号。

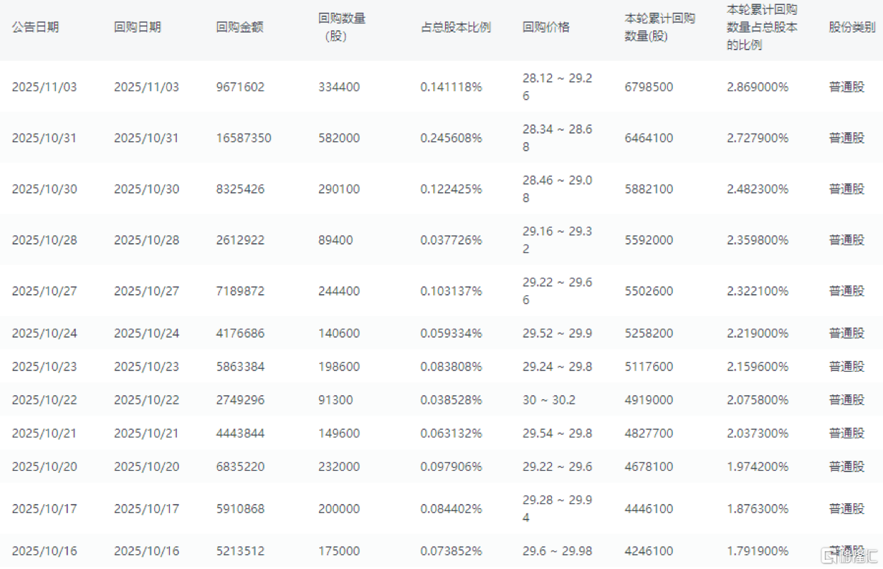
可以看到,进入2025年第四季度,固生堂的回购操作愈发频繁。在整个10月份,几乎每个交易日均有回购记录。而统计数据显示,今年以来固生堂累计进行59次回购,合计回购946.08万股,累计回购金额高达近3亿港元

(来源:富途行情)

接下来,不妨从三个视角剖析公司的经营韧性所在。

01

业绩韧性:盈利质量与现金流双优

首先不难发现,在行业整体承压时,固生堂的业绩表现凸显了其高质量的增长内核。

从此前公司公布的中期财报数据来看,其在今年上半年实现营收14.95亿元,同比增长9.52%;实现归母净利润1.52亿元,同比增长达到41.90%;此外,公司毛利率提升1.24个百分点至30.63%。

透过核心数据可以看到,在外部市场环境仍然错综复杂的背景下,固生堂实现了盈利能力的显著提升,这背后反映了其精细化管理水平与经营效率的全面优化。

而更能体现公司健康度的是固生堂的现金流。财报显示,公司上半年经营性现金流同比大增111%至3.0亿元,与此同时,自由现金流更是激增466%至2.1亿元。这些数据有力验证了固生堂主营业务所具备的强大“造血”功能。

(来源:富途行情)

从营业现金比率(即经营活动产生的现金流量净额/营业收入)来看,2025年上半年,固生堂营业现金比率达到19.79%,近乎去年同期(10.28%)的两倍,增幅可谓显著。这一比率的大幅改善,同样也是公司经营质量实现根本性改善的有力证据,表明每单位营业收入所能带来的实际现金流入大幅增加,为公司的持续发展与抗风险能力提供了坚实保障。

02

业务韧性:高粘性会员与稳健同店增长

如果说亮眼的财务数据体现了公司的“业绩韧性”,那么其背后则根植于更具确定性的“业务韧性”。固生堂通过构建高粘性的客户生态与高质量的内生增长模式,铸就了其应对市场波动的深厚护城河。

最新的经营数据亦为此提供了有力证明。此前公司披露,2025年第三季度,固生堂客户就诊人次逆势增长约8.2%,达到约160.7万。

进一步结合中期财报来看,不难发现,公司增长的驱动力并非来自门店的快速扩张,而是得益于现有门店运营效率的提升和客户价值的深度挖掘,这体现的也是一种相当健康且可持续的内生性增长。数据层面来看,上半年固生堂线下业务总收入为13.7亿元,同比增长11.1%。其中,同店业绩占比高达97.3%,而新店及并购店收入仅占2.7%。同店收入增速持续高于新店扩张速度,展现出较强的经营韧性和盈利质量。

(来源:公司资料)

在这一稳健的增长模式下,高粘性的会员体系成为了业务的“稳定器”。数据显示,公司的会员回头率维持在85.8%的高位,上半年会员门诊人次达108万,同比增长15.1%,会员收入贡献达6.2亿元,同比增长6.3%。可见,公司一线业务基本盘非常稳固,其服务已深度嵌入用户的长期健康管理,形成了强大的客户粘性和抗周期需求。

业务的持续活力,离不开核心医疗人才的支撑。截至今年上半年,固生堂医生团队已扩张至4.17万人,其中线下执业医生同比显著增长23.8%。同时,公司设立的名医工作室达到141个。这一完善的“老带新”机制不仅确保了医疗服务的品质与传承,也为业务的长期发展构筑了坚实的医生资源壁垒。

03

创新韧性:AI与全球化驱动新增长

面对市场环境变化,固生堂正通过“技术创新”与“出海布局”双轮驱动,积极开拓增长新路径。

当前,AI技术正深刻重塑医疗健康行业的服务模式与产业格局,展现出广阔的商业前景。在此背景下固生堂致力于将AI技术与传统中医深度融合,公司相继打造国医AI分身和AI健康助理。

截至2025年8月,固生堂已发布10大国医AI分身,涵盖肿瘤科、皮肤科、消化内科、耳鼻喉科、男科、心理睡眠科、经典方科、骨伤科8大中医专科领域。通过AI技术赋能中医,公司不仅增加了优质中医服务供给,提升了诊疗效率,更开辟了新的业绩增长点。

同时,公司全球化布局持续取得突破,新加坡作为海外首站,2025年7月,固生堂新加坡门店收入同比增长119%,验证了其模式在海外的可复制性。

值得一提的是,在今年8月,固生堂自主研发的护发益发颗粒顺利通过新加坡卫生科学局(HSA)的认证并成功上市,这也预示着公司实现了从“服务出海”到“服务+产品双轮驱动”的战略升级。

04

结语

总而言之,固生堂凭借高质量的盈利水平、强劲的现金流生成能力、高粘性的会员经济体系,证明了其在逆周期环境下的经营韧性。同时,亦通过“AI+中医”的商业化落地和成功的全球化初步探索,为市场展现了其未来的成长潜力。

这种“稳健基本盘+创新增长极”的成长路径,也使其在当前波动的市场环境中成为一个突出的韧性样本。

眼下来看审视固生堂的价值机会,如下几个亮点不容忽视。

首先,政策顺风为公司提供了长期发展空间。

随着“十五五”时期加快建设健康中国,中医药作为新质生产力的重要组成部分,其在疾病预防、治疗与康复全周期的独特优势将得到充分发挥。近期,江西省出台《关于提升中药质量促进中医药产业高质量发展的实施意见》,河南的郑州、南阳等地也相继发布地方性中医药产业扶持政策,形成从中央到地方的系统性支持体系。这些政策红利为身处行业赛道中的行业龙头固生堂带来了难得的发展机遇。

其次,估值重构机遇。

结合经调整净利润数据测算来看,当前固生堂动态市盈率仅约为15倍,而根据券商业绩预期测算,预计到2026年公司对应市盈率有望进一步降至12倍。显然这一估值不仅低于其成长性所匹配的水平,同时也与其在AI技术和全球化布局方面的潜力形成了鲜明对比。考虑到固生堂的AI技术溢价和全球化潜力尚未完全定价,随着市场对公司创新能力和全球布局的进一步认识和认可,公司的估值有望迎来重构。

最后,股东回报的持续强化也持续提升了公司在资本市场的吸引力。

固生堂2025年中期分红7576万元人民币,分红比例达净利润50%,结合公司持续展开的回购动作,进一步彰显了管理层对股东利益的高度重视与积极回馈。在当前市场环境下,固生堂的这一稳健且积极的股东回报政策,无疑是又一大加分项。

敬告读者:本文为转载发布,不代表本网站赞同其观点和对其真实性负责。FX168财经仅提供信息发布平台,文章或有细微删改。
go